
在线咨询咨询热线:88888888
咨询客服,我们快速为您报价,或者提供技术支持!
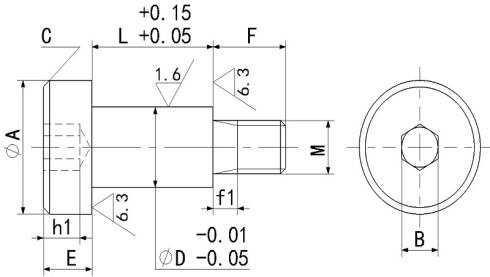
请按照选型步骤①-③选择型号和参数后进行订购
订货举例:型式(①Type.②D)- ③L
LCBS4-L6
| 内六角孔 | 材质 | 表面处理 |
| LCBTY | S45C | 四氧化三铁保护膜 |
| LCBS | SUS303 | / |
| D | L | ||||||||
| 4 | 1 2 3 4 5 6 7 8 | ||||||||
| 5 | 1 2 3 4 5 6 7 8 10 | ||||||||
| 6 | 2 3 4 5 6 7 8 10 | ||||||||
| 8 | 5 6 7 8 9 10 12 20 | ||||||||
| 10 | 5 6 7 8 9 10 12 15 20 | ||||||||
| 12 | 6 7 8 9 10 12 13 15 20 | ||||||||

扫一扫,关注我们